![John Ternus [Image courtesy of Apple]](https://www.rdworldonline.com/wp-content/uploads/2026/04/Apple-John-Ternus_inline.jpg.large_2x.jpg)
John Ternus [Image courtesy of Apple]
What happens when the world’s most valuable consumer tech company, which has been spending more than $30B annually on R&D, hands the CEO reins to a mechanical engineer?
Starting September 1, Apple will begin answering that question. John Ternus, the 50-year-old hardware chief who joined Apple’s product design team in 2001, will succeed Tim Cook after a 15-year run as CEO. The handoff comes as analysts and investors have become increasingly vocal about a gap between Apple’s R&D investment and its innovation output, particularly in AI. Apple crossed the $10 billion quarterly R&D threshold for the first time last quarter, hitting $10.9 billion. Since 2013, the company has poured more than $183 billion into R&D. Yet its flagship AI product, Siri, has barely evolved since its 2011 debut. Apple first demoed the enhanced Siri capabilities at WWDC 2024. In June 2025, WSJ senior personal tech columnist Joanna Stern asked software chief Craig Federighi and marketing head Greg Joswiak about Apple’s progress with the iconic voice feature: “Last year you announced a smarter AI-driven Siri. Where is she?” Speaking of an earlier iteration, Federighi said that the new Siri prototype “didn’t converge in the way, quality-wise, that we needed it to.” Fast forward to the present, and OS 26.5 beta has no substantive Siri changes, and the best hope is now iOS 27 in September 2026.
![Hinge mechanism with multi-range stop assembly, from U.S. Patent Application No. 2013/0000078 A1, co-invented by John Ternus. The design allows a display to rotate between a normal-travel range and a hidden over-travel range, keeping mounting hardware invisible during everyday use. [Image courtesy of USPTO]](https://www.rdworldonline.com/wp-content/uploads/2026/04/Screenshot-2026-04-20-at-4.25.41-PM-1024x782.png)
Hinge mechanism with multi-range stop assembly, from U.S. Patent Application No. 2013/0000078 A1, co-invented by John Ternus. The design allows a display to rotate between a normal-travel range and a hidden over-travel range, keeping mounting hardware invisible during everyday use. [Image courtesy of USPTO]
In a Tom’s Guide interview last week, Ternus offered a window into how he thinks about innovation: “We never think about shipping technology. We always think about, ‘how can we leverage technology to ship amazing products and features and experiences for our users?'” Whether that product-first instinct accelerates Apple’s AI catch-up or perpetuates it may define his tenure.
Publicly, Ternus tends to sound like an Apple engineer rather than a hype man. In a March ABC News interview, he said Apple did not want to launch a lower-cost Mac until it could do it “really, really well,” adding that “the bar is high.” On AI, he suggested the best version of Apple Intelligence may fade into the background: “If we’re doing it right,” users will simply find themselves relying on features they like. That mindset helps explain both Apple’s strengths and its bind. It produces polished products. It can also look slow when rivals are willing to ship messier first drafts.
He is also a more literal kind of Apple engineer than the title alone suggests. Patent records list him among the inventors on systems for bonding cover glass to a housing and for magnetically releasing a device latch, the sort of invisible mechanical problems that define Apple’s obsession with fit and finish.
In any event, Ternus will bring a unique perspective as an engineer to the corner office. While Steve Jobs held 346 U.S. patents, but as Apple co-founder Steve Wozniak put it, “Steve didn’t ever code. He wasn’t an engineer and he didn’t do any original design.” Jobs’s patents were overwhelmingly design patents: the shape of an iMac, the look of an interface, the glass staircase in an Apple Store.
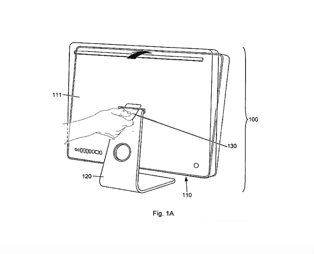
![A flat panel display assembly with a hidden hinge mechanism, from U.S. Patent No. 8,230,553, co-invented by John Ternus. A user inserts a thin card (130) into the gap between the display (110) and stand (120) to unlock the hinge's stop mechanism, revealing otherwise hidden mounting hardware. [Image courtesy of USPTO]](https://www.rdworldonline.com/wp-content/uploads/2026/04/Screenshot-2026-04-20-at-4.25.28-PM-1024x829.png)
A flat panel display assembly with a hidden hinge mechanism, from U.S. Patent No. 8,230,553, co-invented by John Ternus. A user inserts a thin card (130) into the gap between the display (110) and stand (120) to unlock the hinge’s stop mechanism, revealing otherwise hidden mounting hardware. [Image courtesy of USPTO]
The organizational reshuffle announced alongside the CEO transition reinforces the signal. Johny Srouji, the architect of Apple’s custom silicon strategy, has been elevated to chief hardware officer, reporting directly to Ternus.
Wall Street’s first reaction appeared to be mostly neutral. While Apple shares initially ticked up about one 1%, it slipped −1.30% after hours.
Analysts largely treated Ternus as an insider choice with a stronger product bias. Gil Luria, managing director of D.A. Davidson, said the move signals Apple will “focus on new hardware devices such as folding phones, glasses, VR devices and AI pins.” Creative Strategies CEO Ben Bajarin said Ternus is well-liked within Apple and should “bring fresh energy.” Wedbush’s Dan Ives said “there will be a lot of pressure on Ternus to produce success out of the gates especially on the AI front.”
The competitive landscape has shifted while Apple has decided to tread water with its voice strategy. Amazon shipped Alexa+ in early 2025, which was also delayed. Its first iteration of Alexa launched in 2014. Alexa+ is, in part, powered by Anthropic’s Claude for complex tasks and Amazon’s own Nova models. Its agentic capabilities enable it to book reservations, schedule repairs and take actions across third-party services.
Meanwhile, Google has Gemini Live with camera and screen sharing on Android. Samsung’s Galaxy AI stack already includes Live Translate, cross-app actions and Now Brief, while Meta has rolled out live translation on Ray-Ban Meta glasses. Earlier in April, Meta also launched a competitive large language model, Muse Spark, that ranks at or near the top of several benchmarks.
The pressure isn’t only coming from Big Tech. Sesame, a 40-person startup founded by Oculus co-founder Brendan Iribe, has produced voice AI that R&D World’s own reporting described as “miles more advanced” than Siri, Alexa, or OpenAI’s voice mode. Sesame has raised $322 million total. Apple spent roughly that amount on R&D every three days last quarter. ElevenLabs, valued at $3.3 billion, delivers naturalistic voice synthesis in dozens of languages for pennies per API call. These are companies with a fraction of Apple’s headcount solving problems Apple has struggled with for over a decade.
Apple’s response has been to sign a multi-year deal with Google to use Gemini as the foundation for its own models, reportedly at roughly $1 billion per year. Reuters has also reported that Apple is targeting iOS 27 for multi-command Siri and broader routing to outside AI models, which means the real Siri reset still lies ahead of Ternus rather than behind him.




Tell Us What You Think!
You must be logged in to post a comment.